

1、產品參數
LC型立式長軸泵
產品分類: 長軸泵
產品材質:HT200,Q235-A,45,2Cr13等
產品流量:85~5600m3/h
產品揚程:10~100.8m
輸送溫度:55℃ (高于55 ℃ 時請申明)
密封形式:填料密封
LC型立式長軸泵產品概述:
LC型高效節能立式長軸泵是在吸收了國內外立式長軸泵設計和制造先進經驗,為適應國內市場需求研制的先進成熟的系列產品。
該產品可以用來輸送55℃以下的清水、雨水、氧化鐵皮水、污水、具有腐蝕性的工業廢水、海水等液體;經過特殊設計后可輸送90℃的液體。
廣泛用于自來水公司、污水處理廠、電廠、鋼鐵廠、礦山等工礦企業,以及市政給排水、農田灌溉、防洪排澇等工程。
LC型立式長軸泵性能范圍:
流量:85~5600m3/h;
揚程:10~100.8m。
2、結構與特點:
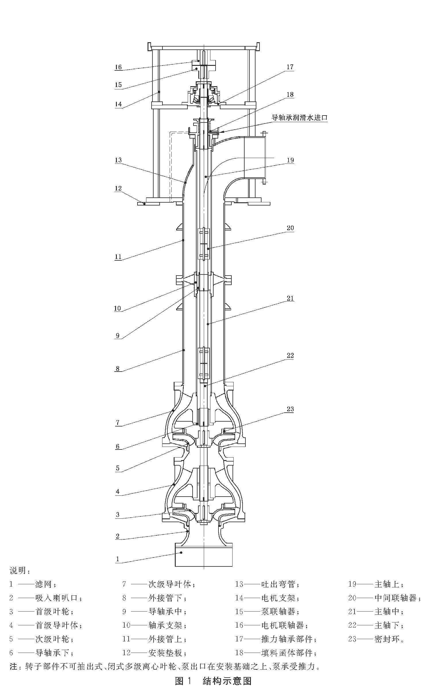
LC型節能軸泵的吸入口垂直向下,出口水平,免抽真空啟動,單基礎安裝,水泵和電機直聯,基礎占地面積小;從電機端俯視,水泵轉子部件逆時針方向旋轉,主要特點有:
1、用水力設計軟件優化設計,性能優越,并充分考慮了葉輪、導葉體的抗磨蝕性能,使葉輪、導葉體等零件的壽命大大提高;產品運行平穩、安全可靠、高效節能。
2、LC型節能立式長軸泵進口裝有濾網,開孔大小適當,既有效地防止大顆粒雜質進入泵內損壞水泵,同時又更大限度地減少了進口損失,提高了水泵效率。
3、LC型節能立式長軸泵的葉輪采用平衡孔平衡軸向力,葉輪前后蓋板均設有可更換的密封環,保護葉輪及導葉體。
4、LC型節能立式長軸泵轉子部件包含葉輪、葉輪軸、中間軸、上軸、聯軸器、調整螺母等零件。
5、LC型節能立式長軸泵中間軸、揚水管和護管為多節,軸采用螺紋聯軸器或者套筒聯軸器聯接;揚水管數量可根據用戶需要增減,適應不同的液下深度。葉輪和導葉體可以為單級,也可以為多級,適應不同的揚程要求。
6、單根軸的長度合理,剛度足夠。
7、LC型節能立式長軸泵揚水管采用法蘭聯接,相鄰2節揚水管之間有導軸承體。導軸承體和導葉體上均裝有導軸承,導軸承采用聚四氟乙烯或賽龍或丁腈橡膠材料。護管用于保護軸和導軸承,當輸送清水時,可取消護管,
導軸承不必外接冷卻潤滑水;輸送污水時,必須安裝護管,導軸承必須外接冷卻潤滑水(水泵帶自閉式密封系統,水泵停機后,自閉式密封系統可防止污水進入導軸承)。
8、LC型節能立式長軸泵的殘余軸向力和轉子部件的重量可由電機支座內的推力軸承承受或者帶推力軸承的電機承受。推力軸承采用潤滑脂潤滑(又稱干油潤滑)或者潤滑油潤滑(又稱稀油潤滑)。
9、LC型節能立式長軸泵的軸封為填料密封,軸封及導軸承處裝有可更換的軸套,以保護軸。葉輪的軸向位置由推力軸承部件上端或者泵聯軸器內的調整螺母來調整,十分方便。
10、LC型節能立式長軸泵出口直徑為φ100和φ150的立式長軸泵僅用于輸送常溫清水,不帶護管,導軸承不需外接潤滑水潤滑;如用戶需要φ100和φ150口徑帶護管的立式長軸泵,本公司可另外提供技術方案。
3、選型說明:
1、LC型立式長軸泵的性能參見性能參數表,表中所列參數為一個大氣壓下常溫清水不含揚水管和濾網的試驗性能;計算裝置揚程時,揚水管和濾網的損失按每5m損失1m估算。
2、電機系按γ≤1100kg/M3配置。YLS系6kV電機,根據需要可配10kV電機。
3、訂貨時需注明水泵的型號、性能參數、液體種類(見“主要零件材質表” )、主要零件的材質、液下深度L、是否帶護管等;輸送污水時,還需提供污水顆粒的更大尺寸以及污水比重。
4、輸送液體的溫度大于55℃時須注明。
4、結構圖

Copyright ?湖南天宏泵業制造有限公司 All Rights Reserved 湘ICP備2020019257號-1 XML地圖
技術支持:湖南天宏泵業
掃一掃咨詢微信客服